Längsverbinder
Material:
Aluminium Druckguss
Mindestbestellmenge:
5 Paar
Farbe:
eloxiert
Beschreibung:
Zum sicheren Verbinden zweier Profile in Längsrichtung.
Extras
Einzeln auch als 90° Verbinder verwendbar.
Beim Einsatz von gewindeformenden Schrauben entfällt Profilbearbeitung.
Beim Einsatz von gewindeformenden Schrauben entfällt Profilbearbeitung.
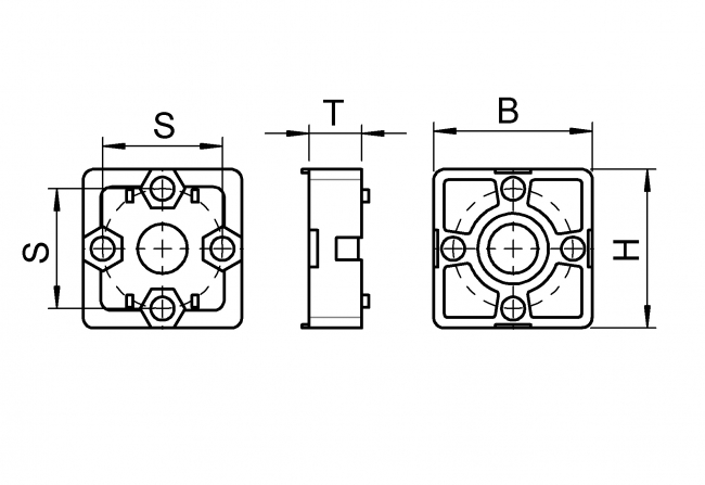
| Nut (mm) | B / H (mm) | T (mm) | S (mm) | Gewicht (g) | Artikelnummer |
|---|---|---|---|---|---|
| 8 | 30 / 30 | 15 | 21 | 86 | 4201 AL 3008 EL 01 |
| 10 | 45 / 45 | 15 | 34 | 113,5 | 4201 AL 4510 EL 01 |